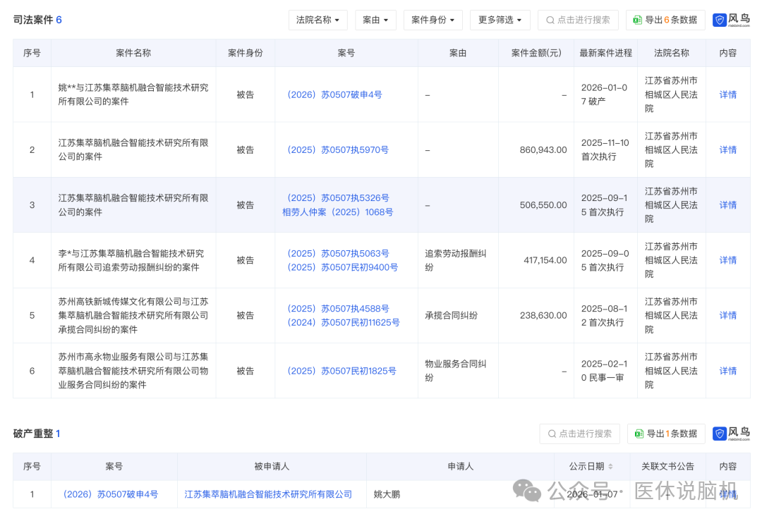
某脑机接口公司,申请破产审查





这类消息更像是一面镜子。它照见的未必是某一家机构或团队“做错了什么”,而是整个脑机接口产业在从科研理想走向现实应用过程中,必然要经历的阵痛。脑机接口这条赛道,本来就不是靠“一次建所、一次投入”就能跑通的产业逻辑。它更像一场长期耐力赛,前半程拼科研能力,中后程拼的是工程化、合规路径和真实的产业协同能力。
很多团队在技术上并不差,真正卡住的,往往是后面那一段没人替你兜底、也没人帮你对接的现实问题。这也是为什么,脑机接口走到今天,单靠某一家研究所、某一家企业单打独斗,已经越来越吃力。上游器件、算法能力、制造资源、注册经验、临床场景彼此割裂,信息高度不对称,试错成本被无限放大。
一旦资金节奏或项目推进出现波动,风险就会迅速集中显现。从这个角度看,行业真正缺的,未必是“再多一个概念”,而是能把这些分散能力重新组织起来的基础设施型平台。让技术团队更快找到合适的供应链伙伴,让工程和产品不再从零摸索,让项目在关键节点上少踩坑、少消耗。
这类平台的价值,不在于承诺成功,而在于降低失败的概率,把不可控变成相对可控。脑机接口一定会继续往前走,但路径会越来越现实。谁能活下来,往往不是最会讲故事的,而是最早意识到“产业需要协作发展,而不是孤勇”的那一批。
你有啥看法?
本文2026-01-12 15:41:55发表“行业新闻”栏目。
本文链接:https://www.yixiuqixie.com/article/968.html
您需要登录后才可以发表评论, 登录登录 或者 注册
最新文档
热门文章


















